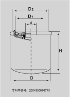
| Model | Flow rate M3/min |
Original P/N | D mm |
H mm |
d | D1 mm |
D2 mm |
| 715PUAS | 2.25/0.8 | 56457 | 94 | 97 | 3/4-16UNF | 62 | 72 |
| 822PUAS 830PUAS |
3.57/0.8 4.65/0.8 |
57562 | 108 | 225 | 1-12UNF | 62 | 72 |
| 837PUAS | 5.64/0.8 | 59946 | 94 | 202 | 1-12UNF | 62 | 72 |
| RALLYE 070-112 | 7.1-12/7.5 | 04425274 | 135 | 302 | 11/2-16UNF | 100 | 110 |
| 6100N¡¢6150N¡¢6180N¡¢6220N | 13.5¡¢20¡¢26/0.7 | 98262/219 | 108 | 260 | 11/8-16UNF | 94 | 104 |
| Sirius250 | 42.7/0.7 | 04425274 | 135 | 302 | 11/2-16UNF | 100 | 110 |
Specifications£º
Filtration Precision £º5µm-12µmInitial Differential Pressure£º≤0.03MPa
Max.Working Pressure£º1.4MPa-2.5MPa
Service Life£º£¾2000h





